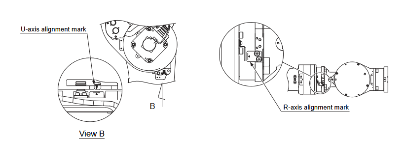
YRC1000 GP180 / YR-1-06VX180-F00 ALIGNMENT MARK LOCATIONS April 07, 2026 14:40 Updated Related articles YRC1000 GP180 / YR-1-06VX180-A00 ALIGNMENT MARK LOCATIONS Battery Replacement GP180 / YR-1-06VX180-F00 Manipulator Comments 0 comments Please sign in to leave a comment.
Comments
0 comments
Please sign in to leave a comment.